传感器 的搜索结果
-
-
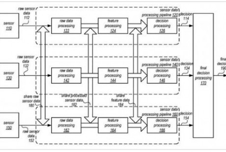
据悉,近日美国专利商标局授予苹果一项名为 “跨传感器处理管道共享传感器数据 ”的专利,其中苹果公司提出在自动驾驶汽车系...
-
-
-
周二,美国专利商标局授予苹果一项新专利,名为“跨传感器处理管道共享传感器数据”。在这项专利中,苹果提出在自动驾驶汽车...
-
-
-
目前随着 ADAS 功能模块渗透率不断提升,短期内传感器市场的需求将主 要被摄像头和毫米波雷达所驱动;而 L3 级别自动驾驶的奥...
-
-
-
Cognitive Pilot研发牙签尺寸雷达传感器 可用于自动驾驶汽车
据外媒报道,俄罗斯自动驾驶技术公司Cognitive Pilot为自动驾驶汽车研发了一款微型雷达传感器,名为Cognitive Mini Radar(Cog...
-
-
-
2018年,自动驾驶行业迅速发展,全球数十家主流汽车主机厂相继发布了不同自动驾驶产品的2018年-2030年上市规划。作为自动驾驶...
-
-
-
Waymo公开了其最新的自动驾驶汽车数据集,邀请无人驾驶汽车研究人员根据其无人驾驶车队收集的大量数据参加一系列挑战赛。从Go...
-
-
-
Waymo 的自动驾驶技术做到全球领先,很大程度上得益于其在硬件自研上的持续投入。
-
-
-
全车搭33颗自动驾驶传感器元件 索尼首款电动车Vision-S已上路实测
在今年的CES展会上,索尼发布会的压轴产品放在了一款名为Vision-S的电动自动驾驶轿车上。这款名为Vision-S(视觉S)电动概念汽...
-
-
-
自动驾驶技术已经取得了很大的进步,但它仍然可能被恶劣的天气所影响。麻省理工学院(MIT)计算机科学和人工智能实验室的一个团...
-
-
-
近日,国内首次以智能驾驶传感器为主视角的 “智能传感器及无人系统应用” 科技论坛,在北京理工大学成功召开。来自国家国防科...
-
-
-
在自动驾驶技术的发展过程中,车辆为了感知周围环境并做出相应反馈,传感器的作用不可小觑。但由于其昂贵的开发成本,大大阻...
-
-
-
自动驾驶是一项快速发展的技术,同时也是一个备受争议的话题。在一个极端,人们相信自动驾驶汽车将通过增加道路安全,降低基...
-
-
-
真正的自动驾驶进阶,都是从传感器开始的。
-
-
-
对于自动驾驶而言,传感器是灵魂所在。那么传感器的数量越多越好吗?企业配置更多的传感器又意欲何为呢?
-
-
-
11月22日消息,国内自动驾驶创企元戎启行日前宣布将发布新的感应解决方案DeepRoute-Sense,该方案能够融合多个传感器数据,使...
-



























