
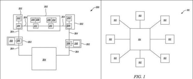
从特斯拉公布的专利图可以看出,布线系统结构包括双向主干电线布局,新车往返处理器的环路,同时主干网可以作为两个独立环路运行,这意味着主干网一部分发生故障后,所有设备的数据仍然可以发送到处理器和从处理器上发出。
设备内的每个集线器还通过主干串联或并联连接到其他集线器,如果设备中的一个集线器发生故障,其他集线器仍然可以传输到主干网,从而传输到处理器。除此之外,这种新架构相对于传统系统的优点还在于,采用了较少的电线进行连接。

特斯拉指出,这项专利可用于多种车辆,包括卡车,这表明特斯拉可能打算将该架构用作未来所有FSD的标准设置。此外,通过拓展架构,这个系统还可能在农业、航海和其他工业中应用。




















