传感器 的搜索结果
-
-
人们常说人不可貌相,海水不可斗量。有时候我们眼见的不一定为实,科技改变生活,也改变了我们的生活、工作、学习、出行方式...
-
-
-
5月22日-5月23日在东京召开了“2019 Flex Japan/MEMS & SENSORSENSORS Forum”,在此论坛上,法国Yole Développement的负责...
-
-
-
日前为了更好的促进传感器融合技术的发展,国外研究人员开发出一种具有重要意义的摄像机雷达模块,能更快地捕捉交通状况的变...
-
-
-
近日据路透社报道,Alphabet旗下自动驾驶技术子公司Waymo表示,将在凤凰城的高速公路测试无人驾驶卡车,未来还将扩大测试路线...
-
-
-
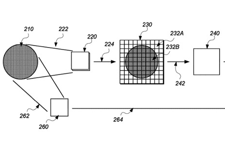
据外媒报道,近期,美国专利商标局(US patent and Trademark Office)公布了苹果公司的“深度感知传感器数据处理”(Depth perc...
-
-
-
有人称传感器是自动驾驶的护城河,也有人说汽车传感器市场注定是一个永恒的战场,但是可以确定的是这个市场,谷歌来了。
-
-
-
智能轮胎传感器公司Revvo融资2685万 可测量汽车驾驶环境条件
据外媒报道,Revvo是一家制作机器学习软件和传感器,以预测车辆轮胎寿命的公司,当地时间3月26日,该公司宣布结束一轮400万美...
-
-
-
Velodyne扩大自动驾驶车队的传感器生产 未来将重点发展ADAS市场
近日,Velodyne 公司 CEO 兼创始人 David Hall 宣布,公司自2007年以来几乎为所有自动驾驶汽车项目提供激光雷达,自开始生产...
-
-
-
尽管无人驾驶技术被认为是汽车行业的未来,但在推进无人驾驶汽车应用的过程中引发了不少争议。对此,本文电车资源将围绕着无人...
-
-
-
据彭博社报道,谷歌母公司Alphabet旗下的自动驾驶汽车公司Waymo从周三起开始对外销售其LiDAR(激光雷达)传感器。
-
-
-
传感器和集成惯性系统开发商KVH Industries,Inc。宣布,基于其在自动驾驶汽车原型程序和各种无人驾驶应用方面的成功,它正在...
-
-
-
LORD Sensing MicroStrain宣布推出3DM-GX5系列惯性传感器,扩展了适用于空中,陆地和海上无人驾驶和自动驾驶汽车的传感器产品...
-
-
-
通用杜江凌解读无人驾驶:V2X是底层网络连接 传感器单元是APP
那么问题来了,拥有了如此全知全能的新新技术,我们还有必要和各种物理传感器“死磕”吗?通用中国科学研究院杜江凌给出了答案...
-
-
-
12月19日消息,据外媒报道,本周二,ARM公司推出了一款新的自动驾驶汽车芯片——Cortex-A65AE,预计将于2020年上市。
-
-
-
本研究在前人研究的基础上提出了一种新的算法,利用ICGM的方法提取环境稳定的视觉特征,结合Kinect距离传感器,在高度动态环...
-



























